El mantenimiento y rehabilitación de tuberías sin obras exige herramientas cada vez más precisas y versátiles. En contextos donde las condiciones internas de la red de saneamiento son especialmente complejas —como tuberías de gran diámetro, conductos con recodos, codos cerrados o trazados irregulares—, contar con un sistema de proyección controlada se vuelve fundamental.
El rociador con servogiro de FugaExpert Solutions es una solución avanzada diseñada para garantizar una distribución homogénea del producto proyectado, incluso en los tramos más difíciles.
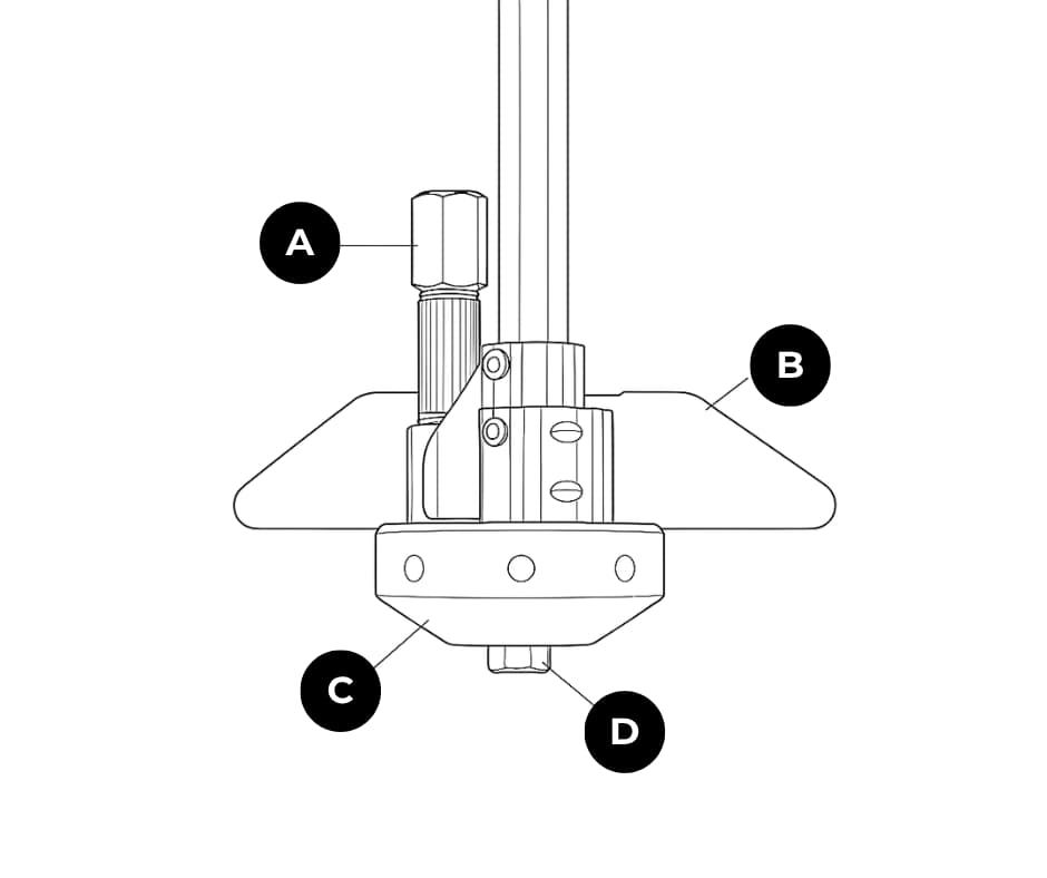
¿Qué es un rociador con servogiro?
Se trata de una turbina de proyección que incorpora un sistema de rotación motorizada y controlada electrónicamente, también conocida como tecnología de “servogiro”. A diferencia de los rociadores convencionales que giran libremente por impulso hidráulico o neumático, este sistema permite ajustar con precisión la velocidad de giro, el ángulo y la dirección de la proyección.
Esta característica lo convierte en un accesorio ideal para trabajos que requieren un acabado uniforme en condiciones no lineales o de difícil acceso.

- A – Conducto de entrada de resina
- B – Centradores
- D – Cúpula de rociado
- C – Anclaje
Ventajas principales del rociador con servogiro
✅ Cobertura completa en tubos de gran diámetro
Cuando se trabaja en conductos de gran sección, una proyección sin control puede dejar zonas sin recubrimiento. El servogiro permite mantener una velocidad de rotación constante, asegurando que todo el perímetro interior del tubo reciba la misma cantidad de producto, sin saltos ni acumulaciones.
✅ Excelente comportamiento en curvas, codos y tramos irregulares
Gracias a su sistema de rotación programada, el rociador puede adaptarse al trazado del tubo incluso en presencia de desviaciones o curvas, algo que los sistemas de giro libre no pueden garantizar. Es una herramienta clave en instalaciones antiguas, redes municipales o conducciones industriales con geometría variable.
✅ Optimización del consumo de resina
Al aplicar el producto de manera controlada y uniforme, se evita el desperdicio, se reduce el número de recargas necesarias y se obtiene un acabado más fino. Esto mejora no solo la eficiencia operativa, sino también los costes del proyecto.
✅ Compatible con sistemas FX5PRO®
El rociador con servogiro es completamente compatible con las máquinas de resinado FX5PRO, lo que permite su integración directa en los sistemas de trabajo ya existentes sin necesidad de adaptadores o modificaciones.
✅ Mantenimiento sencillo y alta durabilidad
Fabricado con materiales resistentes a productos químicos agresivos y diseñado para soportar presiones elevadas, este accesorio requiere poco mantenimiento y ofrece una larga vida útil incluso en entornos exigentes.
¿Para qué tipo de trabajos está indicado?
El rociador con servogiro está especialmente recomendado para:
- Rehabilitación de tuberías de gran diámetro en redes de saneamiento particulares, municipales e industriales.
- Proyección en colectores, arquetas y galerías.
- Intervenciones en bajantes comunitarias con codos y tramos desviados.
- Aplicación de resinas impermeabilizantes en sistemas de saneamiento complejos.
- Revestimientos interiores en conducciones antiguas o deformadas.
Casos prácticos de uso del rociador con servogiro
El uso del rociador con servogiro ha demostrado ser especialmente eficaz en contextos donde otros sistemas fallan o requieren múltiples pasadas. Estos son algunos escenarios reales donde ha marcado la diferencia:
🏢 Bajantes comunitarias con codos
En edificios antiguos es frecuente encontrar bajantes con varios cambios de dirección. Usar un sistema convencional de proyección puede provocar zonas mal cubiertas o con resina acumulada. Gracias al servogiro, se mantiene una distribución uniforme incluso en los codos más cerrados, evitando fisuras futuras.
🏭 Tuberías industriales de gran sección
En entornos industriales, los conductos pueden tener un diámetro superior a 200 mm y recorrer decenas de metros con formas no lineales. El rociador con servogiro permite una aplicación controlada sin necesidad de intervención manual, reduciendo tiempos de trabajo y mejorando la seguridad del operario.
🌧️ Colectores pluviales con suciedad incrustada
Tras una limpieza inicial, muchos colectores de aguas pluviales aún presentan porosidades o irregularidades. El servogiro permite realizar una capa de sellado uniforme que se adapta a la superficie, mejorando la estanqueidad sin necesidad de encamisado.
Conclusión
El rociador con servogiro es una herramienta de alta precisión diseñada para profesionales que no se conforman con soluciones genéricas. Su capacidad de adaptación a tuberías complejas, junto con su control total del giro, lo convierten en una pieza clave dentro de los sistemas de proyección avanzada.
Visita la ficha del producto para conocer todos los detalles técnicos y comprobar su compatibilidad con tu equipo:

